• AIRD08-273K
Срок поставки и цена – по запросу
Норма упаковкиКатушка: 1000 шт.
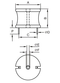
Размеры60.96x60.96x63.5 мм
Индуктивность27 мГн
Допуск10 %
Сопротивление1.716 Ом
Номинальный ток2.7 А
ОсобенностиТермоусад. трубка
Рабочая температура-25..85 °С
Температура хранения-55..125 °С
МонтажRadial
Показать остальные свойства..

Радиальные силовые катушки индуктивности серии AIRD, в термоусадочных трубках. Отличаются высоким током, материалом высокого насыщения, низким сопротивлением, высокой надежностью. Применяются для источников питания, RFI фильтров, в автоматизированных системах. 

Аналоги

Ранее просмотренные товары