• TRF212-273Y
Срок поставки и цена – по запросу
Норма упаковкиКоробка: 50 шт.
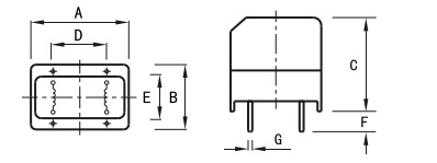
Размеры18.5x13.5x20 мм
Индуктивность27 мГн
Допуск-10..100 %
Сопротивление1.25 Ом
Номинальный ток500 мА
ОсобенностиТококомпенсирующие
Рабочая температура-40..105 °С
Температура хранения-40..105 °С
МонтажСквозной вертик.
Показать остальные свойства..

Тококомпенсирующие дроссели серии TRF. Отличаются высокой механической прочностью, высокой надежностью, низким сопротивлением. Применяются в компьютерной переферии, автоматизированнных системах, также для подавления шумов.

Аналоги

Ранее просмотренные товары